
文章图片

文章图片

文章图片

文章图片

文章图片
#陈亚男宣布离婚#
最近一段时间 , 网络上关于大衣哥儿子朱单伟和“前儿媳”陈亚男的离婚话题 , 讨论热度一直居高不下 。
【陈亚男|陈亚男离婚后续:记者核实她已签约MCN,直播间可能存在刷单现象】在经历了两个月的舆论侵扰、恶评刷屏的煎熬后 , 陈亚男在沟通无门的情况下 , 单方面宣布与朱善伟解除婚约 。
她的官宣文案写得很体面 , 既强调了自己这段时间的不堪遭遇 , 又给朱家留了体面 , 最后还为丈夫小伟送上祝福 。
这份声明与她前几次写的文字相比 , 的确进步不少 。
陈亚男的文字 , 的确让不少网友开始站在她的角度考虑问题 , 对她产生了怜悯之心 。
宣布离婚后 , 陈亚男的近况如何 , 将会作何打算 , 网友们的普遍猜测是否准确 , 都是人们比较关心的话题 。
目前 , 陈亚男的动态还停留在那份离婚声明上 , 没有其他内容更新 , 也没有直播带货 。
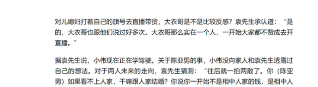
12月6日 , 针对这场离婚风波 , 有权威媒体通过电话的方式采访到了大衣哥的经纪人老袁 。
袁先生承认 , “大衣哥文化”所发的“灵魂七问”正是他的手笔 。
接受采访时 , 记者问到他对陈亚男在文案提到的遭遇有什么看法时 , 袁先生觉得“绑架”一事不像是真的 , 因为如果是真的 , 当地的公安局都会发一个类似“警情通报”的东西 。
他觉得陈亚男故弄玄虚最直接的目的 , 就是为了直播带货 , 让她离婚后过渡的过程更顺利一些 。
针对网络上关于彩礼的传闻 , 袁先生明确表示 , 朱家当时给了陈家20万的彩礼 , 在农村来说已属于中上等水平 , 何况彩礼是在房产、车子之外的 。
让大衣哥夫妇产生警觉 , 就是因为陈亚男要卖掉单县房产 , 在曹县买房的举动 。
按照袁先生的说法 , 当时单县的房子是陈亚男父母看中的 , 大衣哥从购买到装修前前后后花了200万 , 才让女方满意 。 结果结婚仅半年陈亚男就让小伟回家拿房本 , 说要把房子卖掉 。
陈亚男结婚时口口声声说 , 嫁给朱单伟不为钱 , 是看中了小伟憨厚老实 。
结果现在小伟仍然憨厚老实 , 她却已经看不上了 。
事实上 , 在变卖房产的想法落空后 , 陈亚男就开始布局之后的退路 。
据记者调查核实确认 , 陈亚男目前已经与杭州的一家MCN机构签约 , 成为该机构5位达人主播之一 。
记者通过直播带货平台公开资料查询到该MCN机构的联系方式 , 尝试拨通负责人的电话 , 但对方一听到陈亚男的名字就立刻挂断电话 , 再次拨打时拒绝接听 。
该媒体称陈亚男直播后台对商家的报价为:专场坑位费3万元 , 拼场坑位费1万元 , 其带货主力类别为食品饮料、美妆和个护 。
此外 , 媒体还披露陈亚男的直播间可能存在刷单现象 。
在陈亚男最近的一场直播中 , 有一款售价高达320元的香水 , 销售额超过了100万元 。
当天直播结束后 , 该产品迅速下架 , 有熟悉相关操作的商家表示 , 从数据来看不排除刷单的情况 。
商家的依据是 , 陈亚男直播间所有产品的销售量一直在1万-5万这个区间 , 突然有一款不知名的产品销售额超过100万 , 而且在直播间人数和购买力不变的情况“秒没” , 一下子拉高了整体单价 , 而且那个商品在直播完后立刻就下架了 , 这也从侧面佐证了这一情况 。
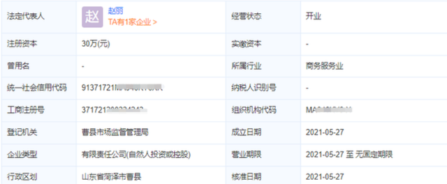
在大衣哥“灵魂七问”中曾提到 , 陈亚男瞒着朱家以父母的名义新注册了一家新公司 , 目的就是要撇开朱家独立发展 。
从组织架构、法人、股东等关系来看 , 该公司和朱之文一家没有任何关系 。
正如大衣哥的经纪人袁先生所言 , 陈亚男或许一开始就没打算和小伟长期生活 , 否则以她的聪明程度应该用不着这么着急 。
推荐阅读
- 陈亚男|陈亚男“绝杀时刻”,坐等朱之文如何反击!
- 林志玲|一直被传离婚的黄晓明和杨颖,婚姻却仍在持续,可能是这些原因
- 张艺谋|背后还有更大阴谋?陈亚男带货被封,开小号发文向朱家人卑微道歉
- 刘德华|汪小菲公开离婚内幕,信息量很大。称:不认为是大S的老公!
- 开端|汪小菲离婚后接受采访,透露给妈妈直播间刷嘉年华,网友提出质疑
- 明星素颜|一辈子都不可能离婚的6对明星,尤其是最后一对,打死都不会离!
- 倪虹洁|负债千万、离婚生子,这位性感女神藏得太深了
- 张玉娇|赵本山女徒孙娇娇公开整容,自吹有7套豪宅,今离婚带两娃
- 秋瓷炫|秋瓷炫,我劝你还是离婚吧
- |女星承认已跟日本老公离婚!回想儿子严重烫伤经历,不禁泪流满面
