
文章图片
文章图片
文章图片
文章图片
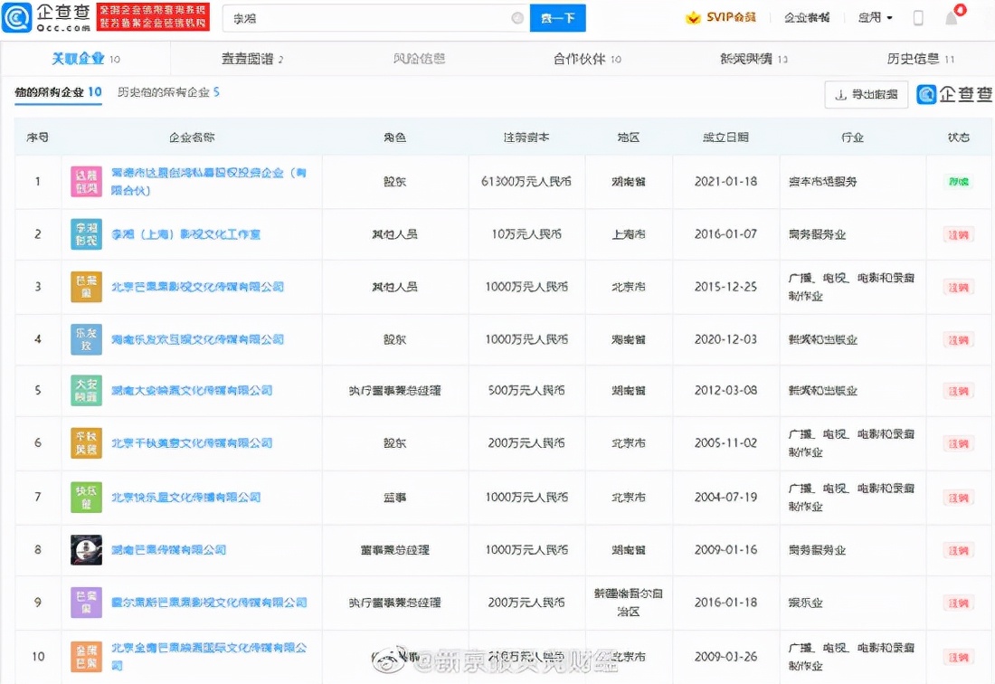
序言:2021年11月3日 , 有网友发现 , 海南乐友欢互娱文化传媒有限公司发生工商变更 , 企业状态由“存续”变更为“注销” 。 该公司成立于2020年 , 法定代表人为潘子豪 , 注册资本1000万元人民币 , 李湘持股99.90% , 王岳伦任执行董事职务 。
奇怪的是 , 这个公司在今年7月份也发生过一次工商变更:原大股东王岳伦退出 , 新增股东李湘 , 持股99.9% 。 非著名娱评人吴清功指出:如果这个公司早就想注销 , 为何还有变更股东?难道涉及到避税吗?
此外 , 李湘关联的企业共10家 , 9家已经注销了 , 目前仅1家存续 , 这是发生了什么?李湘的事业遭遇大滑坡吗?或者说 , 李湘和王岳伦的婚姻出问题了?虽然王岳伦酒后经常发生一些尴尬的事情 , 但李湘原谅他了啊 。
前不久 , 有网友在三亚的五星级酒店偶遇李湘一家三口 。 李湘穿着红色套装 , 手挽大牌包包 , 很霸气地走在前面;王岳伦跟女儿王诗龄走在后面 , 两人互相搭着对方的肩膀 。 如果李湘和王岳伦的婚姻出现问题 , 他们一家三口是不会合体出现的 。
李湘曾经是湖南卫视“一姐” , 因为她主持了7年的《快乐大本营》 , 变得家喻户晓 。 《快乐大本营》第一期节目就是李湘主持的 , 何炅1998年才开始主持《快乐大本营》 。 李湘在《快乐大本营》最困难的时候选择离开 , 欧弟也是在《天天向上》最困难的时候选择离开 。
【李菲儿|发生什么了?李湘和王岳伦的公司被注销,李湘的10家公司只剩1家】
谢娜接替李湘之后 , 和何炅、李维嘉、杜海涛、吴昕一起把《快乐大本营》带上了高峰 。 而大张伟接替欧弟之后 , 和汪涵、王一博等人并没有把《天天向上》带上高峰 。 李湘离开湖南卫视之后去了深圳卫视 , 当了副总监 。
但李湘在深圳卫视也没有干很久 , 后来又去了一家互联网公司 , 担任“娱乐总裁” , 但也不是很成功 。 如今 , 李湘已经转型成为一个主播 , 在网上卖货 , 挣得也比普通人多得多 。 李湘的压力不会那么大 , “塌房”的几率很小 。
李湘的财富还是很可观的 , 某社交平台知名房产界博主曝光了李湘家居住的两套大豪宅 , 其中一套常住的位于北京朝阳区五环路外的大湖山庄 , 整个小区不过百来栋别墅 , 李湘家面积666平方米 , 价值高达5千多万 。
讨论:为什么李湘只有一家公司了?
推荐阅读
- 罗云熙|罗云熙出道11年,颜值在线的他为什么迟迟不火?
- 蔡文静|《雄狮少年》的形象设计有多糟糕?导演完全忘了艺术审美是什么了
- 徐娇|儿媳,做妈的,拿自己儿子的钱有什么问题,那您儿子也还给您
- 家族荣耀|《家族荣耀》还没正式登场的罗嘉良,会扮演一个什么样的角色?
- 小品|为什么现在的小品不好笑了呢?
- 刘涛|《开端》连猫都拍成了隐藏的主角,为什么刘涛却当了“镜子”?
- 李易峰|为什么人可以在不同年纪反复爱上杨洋,而他却不行
- 甄嬛|为什么安陵容晋封妃位的头饰这么简单,跟甄嬛和华妃的差了好多?
- |田静就是许妈的福报,她一直以来贤惠懂事,并不曾做错什么
- 德云社|维权就维权,你玩什么断章取义的小动作
