
文章图片
文章图片
文章图片
文章图片
文章图片
【王子文|张庭一口气注销9家公司!总注册资本超4亿,2月前被曝资金遭冻结】
文章图片
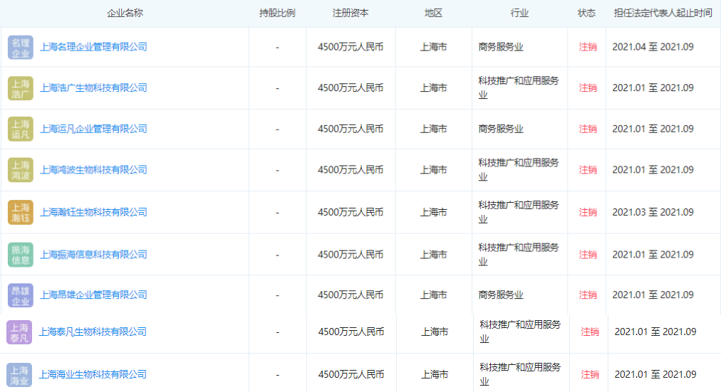
9月16号 , 某平台官方发布消息 , 女星张庭的多家内地公司被注销 , 引起网友热议 。
据悉 , 张庭(原名张淑琴)这些年和老公林瑞阳一起开公司 , 靠卖护肤品、化妆品赚了不少钱 , 近两年他们在直播平台带货 , 也做到了平台头部主播的位置 , 势头大好 。
然而没想到 , 如今张庭担任法人代表的多家公司被注销 。
这9家公司全都是在今年上半年才成立的 , 注册资本各为4500万元 , 算下来共4.05亿元 , 数目不小 。
公司具体注销时间是9月8日 , 原因为决议解散 , 现在企业已依法注销营业执照 。
虽然张庭目前仍是67家公司的法定代表人 , 但她一次性注销多家刚开不到一年的公司 , 这件事看上去似乎不寻常 , 不知是不是与国内严抓税务有关 。
最近各大部门发声明 , 要大力整治娱乐圈 , 对于税务问题也查得更严格 。
按照业内人士所说 , 明星成立独立工作室、精选注册地等已是部分演出行业人员逃税的主要方式 。
比如一个明星开几十个公司 , 收酬劳时一笔钱分为几十份 , 税费就降低了 。
截至8月27号 , 今年已有近700家艺人经纪相关企业被注销 , 牵扯的明星包括吴京、沈腾、黄晓明等等 。
并不是说每一个注销公司的人都有税务问题 , 但只要相关人员确实存在主观刻意偷税漏税行为 , 即使注销工作室 , 也不影响后续追责 , 终会得到惩罚 。
张庭注销公司的原因外界不得而知 , 但她一直以来都是积极纳税的形象 。
2019年1月 , 他们夫妻经营的公司上榜上海青浦区百强优秀企业名单 , 是青浦区“2018年度纳税最高奖”得主 , 缴税总额高达12.6亿元 。
张庭和林瑞阳为此风光许久 , 不过他们的公司仍然存在着争议 。
今年7月 , 某网站显示张庭的公司增添了两条立案信息 , 而知情人透露 , 这个案件是因为该公司涉嫌传销 , 某市场监督管理局向法院申请冻结该公司及相关公司3亿资金 。
被曝冻结3亿后 , 这段时间张庭与家人仍然正常晒生活、直播带货 , 仿佛没有发生任何事 。
但是如果将资金冻结与注销公司联系到一起看 , 她大概还是受到了影响 。
不知道张庭会不会回应这些事 , 只希望她和林瑞阳能带着两个孩子好好生活 , 过简单快乐的日子 。
#张庭多家内地公司注销#、#张庭#、#林瑞阳#
作者:李西西
主播:十七
推荐阅读
- 肖战|王牌部队还在爆,肖战被传又一狠剧将袭,好家伙又是神仙阵容,不追可惜
- 英雄岁月之王牌部队|三生三世:长大后的夜华,为何对母妃乐胥娘娘冷淡又疏远呢?
- 开端|刘家良去世时,葬礼上哭到昏厥的娇妻,凭啥55岁时转身嫁进赌王家
- 李靓蕾|滑天下之大稽!李靓蕾竟然和张桂梅王亚平齐平,新周刊被骂真活该
- 徐凤年|《雪中悍刀行》最强五人结局:王仙芝身死,剑神孤独终老,徐凤年携佳人归隐
- 向风而行|王凯、谭松韵《向风而行》杀青,两个年轻航空人的“针尖对麦芒”
- 徐凤年|雪中悍刀行:杀世子夺青鸟,过初冬啃红薯,住南宫何愁王妃不从
- 杜海涛|明星播报:易烊千玺,嘉行传媒王骁,沈梦辰杜海涛
- 霸王别姬|毕福剑捧红的草根明星,草帽姐败坏路人缘,而他抛妻弃女娶娇妻
- 求婚|才向男友求婚成功,大王又与男闺蜜亲密开直播,网友感慨这也行?
