
文章图片
文章图片
文章图片
之前可能不少人都听说过 , 有个T了7000W的人 , 家里买了一堆有的没得 , 比方说镶钻的黄金PS4手柄 。 当然最吸引人的还是那张青眼白龙……
青眼白龙是来自卡牌游戏 , 游戏王中的一张怪兽卡 , 拥有极高的人气 。 而这一张则是收藏向、限定版青眼白龙 。 24K纯金 , 重达11克;长86mm , 宽56mm 。 2019年2月发售 , 全球发行500张 , 每张都有独立的编号 。 发售时售价22W日元 , 换算差不多1.3WR 。 这个价格怎么说呢 , 作为纯金、且全球限定版 , 也不能说特别、特别贵 , 至少是可以理解的 。 当个收藏品也不错 。
而事实上 , 在2021年 , 普通编号的成交价都在20WR了 , 限定编号更是高达120WR 。 这么好……升值快的收藏品可不多见 。 而由于种种原因 , 这张卡会由法院拍卖 , 收入大概上交国库?总而言之 , 事儿就是这么个事儿 , 这张卡将在6.21下午四点开始拍卖 , 当然 , 各位看到这里的时候 , 事情已经结束了 。
但怎么说呢 , 可能即便是见惯了大事件的人 , 看到这张卡的竞拍过程 , 也有点蒙 。
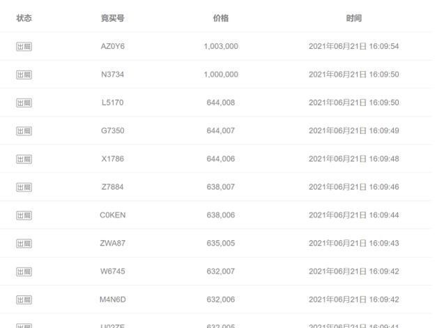
这张卡的起拍价是80R , 而根据圈内人的估计 , 这卡的实际价格拍到20-30W不成问题 。 当然 , 某种程度上来说 , 如果盯着的人不是太多 , 买到就是赚到 , 问题不大 。 但问题大就大在 , 知道这件事儿的人太多了点 。 而且可能……有比较低龄的人参与了竞拍?
总而言之 , 一开始这卡的起拍价是80R , 然后一路增加 。 下午四点开始 , 三分钟不到的时间 , 就从80跳到了2092 , 再过一分半的时间 , 跳到了1W;等到六分半的时候 , 直接从9W跳到了13W;接下来事情就失控了 , 从64W一下子跳到了100W 。
再往后 , 在17分钟的时候 , 竞拍价格已经到了1000W 。 等到半小时之后 , 这张卡的竞拍价格已经到了8700W 。 这时候 , 前去围观的芒果冰大佬已经懵了 。 毕竟之前一共T了7000W , 这要是真的以8700W成交 , 意味着还赚了1700W……但很显然 , 这是不可能的
事实上 , 有理由怀疑有不太了解法拍过程的人参与了进去 , 至于说出价……半小时竞拍了2000多次 , 很难说他们是经过深思熟虑的 。 毕竟平均出价一次1s都不到 , 怎么看都觉得是凑热闹的多 。 但……法拍真不是开玩笑的地方 。
之前某站拍卖手办 , 有人出到了98亿 , 但后来表示无力支付 , 某站也没深究 。 但是对于法拍来说……如果你恶意竞价 , 但是无力支付 , 后面会有很严重的后果 。 比方说你出道10000 , 但是无力支付导致流拍 , 那么不仅保证金没了 , 如果下次以6000成交 , 那么差价4000则需要导致流拍的人支付 。
【张青|还记得那张青眼白龙吗?起拍价80,半小时拍到8700W!】而这次事件 , 法拍方看到了这么离谱的出价 , 很明显有人恶意竞拍 , 在第32分钟的时候关闭了拍卖 。 但很明显 , 后续的发展也会相当“戏剧性” , 有人要倒霉了 , 希望别是个熊孩子 。
推荐阅读
- 秦岚|42岁秦岚近况曝光,双腿坑洼滤镜都挡不住,网友:终究还是老了
- 肖战|王牌部队还在爆,肖战被传又一狠剧将袭,好家伙又是神仙阵容,不追可惜
- 白梦妍|白鹿被媒体评”年度最佳好感艺人“,人美歌甜还幽默,宝藏女孩啊
- 林生斌|林生斌的事件何时有结果?冬天都到了,离春天还远吗
- 宋丹丹|宋丹丹儿子带老婆产检,跷着二郎腿坐在沙发上,全程还有人跟拍
- 搭配|冬天别总穿打底裤了,今年流行这3种裤子,保暖显瘦还百搭
- 阴阳打更人|彭禺厶新片《阴阳打更人》,口碑两极化,是致敬经典,还是蹭流量
- 白敬亭|赵今麦晒开端片场丑照,遭白敬亭礼貌回怼:我还有修图的必要吗?
- 徐娇|儿媳,做妈的,拿自己儿子的钱有什么问题,那您儿子也还给您
- 发质|烫法式卷步步惊云,烫羊毛卷大型翻车,还是“造型烫”比较靠谱
