
文章图片
文章图片
文章图片
文章图片
最近因为郑爽被曝偷税漏税的事 , 闹得娱乐圈鸡犬不宁 , 同时何炅、邓超、那英、魏大勋等艺人工作室接连注销 , 仿佛要有大事发生 。 最新又有媒体爆料 , 赵薇数家公司股权被冻结 , 涉及金额超百万 , 这是怎么回事呢?
据天眼查APP显示 , 赵薇旗下的三家公司股权被冻结 , 分别是北京普林赛斯文化传播有限责任公司、龙旭新(北京)商贸有限公司、北京易聚创意科技有限公司 , 冻结股权数额合计272.6万元 。 冻结期限至2024年4月 。
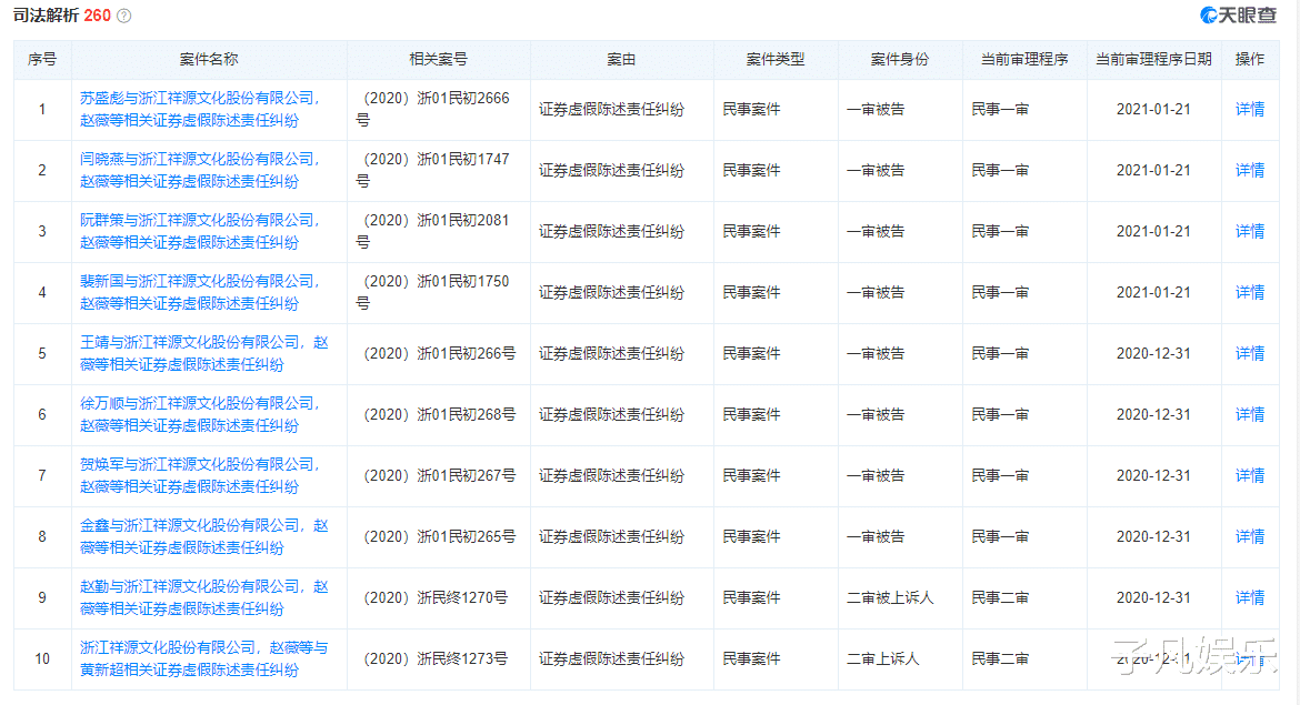
在郑爽被曝偷税漏税 , 相关部门介入调查之际 , 赵薇股权被冻结 , 有网友猜测跟天价片酬或者偷税漏税有关 。 小编搜罗了网上信息 , 进行分析 , 感觉这次股权冻结和热门搜索只是巧合 , 可能并不涉及偷税漏税 , 应该指的是证券交易 。 在天眼查App上可以看到 , 赵薇面临的司法解析和开庭公告合计3百多个 , 案件类型都是证券虚假陈述责任纠纷 。
那么什么是证券虚假陈述呢?赵薇夫妇被罚五年禁入证券市场 , 不知道大家听没听过这个新闻 。 赵薇夫妇曾计划斥巨资30.6亿收购上市公司万家文化 , 可是自有资金只有6000万元 , 其余全是借贷 , 杠杆高达51倍 , 之后因为借款受阻 , 收购失败 。 可是赵薇夫妇贸然予以公告 , 对市场投资者造成严重误导 , 让股票经历了暴涨和暴跌 , 大批股民受损 。 这就是虚假陈述 。
有的网友会说 , 赵薇那么有钱 , 为什么还要掺和资本呢?其实这是误区 , 越有钱的人越要掺和资本 , 没钱的人才会把钱存银行 , 有钱的人都在玩资本 , 从银行贷款钱生钱 。 不过从郑爽披露的日薪208万来看 , 这次冻结的股权 , 无非就是明星一天的工资 , 不足挂齿 。 看到娱乐圈钱这么容易赚 , 真让人羡慕 。 你想进入娱乐圈吗?欢迎在评论区留言 。
【赵薇|最新爆料,赵薇数家公司的股权被冻结,涉及金额超百万】本文由子凡娱乐创作 , 点点关注 , 每日分享精彩内容 。
推荐阅读
- 张大仙|张大仙减肥上热搜!最新近照曝光后,网友直言:胖若两人!
- 黄一山|黄一山揭秘《美人鱼2》暂时无法上映原因,顺道爆料了上映时间?
- 张佳宁|牛爱芳谎言再被揭穿,城里“小平方”的房子,被婶婶爆料有100平
- 陈展鹏|直播吸引15万人观看,最新《披荆斩棘的哥哥》陈展鹏欲参加?
- 美丽|《2012》导演最新灾难大片,期待了
- 王珞丹|久未露面的王珞丹晒最新美照,白色高领毛衣配黑长裙,文艺范十足。
- 开端|细思极恐!《开端》最新剧情3个疑惑出现,王萌萌也在循环?
- 咘咘|咘咘BO最新萌照,与小姐妹相聚超开心,真挚的情感最美最可贵
- 华晨宇|歌王华晨宇最新节目今晚播出!助力冬奥,晚九点北京卫视不见不散
- 易烊千玺|开年大瓜来了!网友定时爆料易烊千玺,网友:到底什么大料
