苹果|你以为今年苹果新品就只有iPhone12?

文章图片

文章图片

文章图片

文章图片

文章图片

文章图片
【苹果|你以为今年苹果新品就只有iPhone12?】
文章图片

文章图片

文章图片

2020 年转眼间过去了一大半 , 安卓阵营这边相继祭出以 “ 骁龙865 ” 为首的机型 , 交出了上半年的答卷!而下半年则是围绕刚公布不久的 “ 骁龙865 Plus ” 作为后续的升级款机型 。
iPhone
苹果这边 , 下半年自然会有所动作!而 iPhone 12 的发布 , 也是板上钉钉的事情 。 机型配置 , 价格 , 甚至连同包装内容 , 媒体也都公布了个遍 , 一丝都没落下 。
机型方面我们已经曝光了很多次了 , 4 款 3 个尺寸 , 5.4 、6.1 、6.1 、6.7 !价格方面有的说 “ 加量不加价 ”, 有的说比上一代便宜 , 有的说比上一代贵!小狐认为 , 应该会比上一代贵那么一丢丢 , 就算听说这次连耳机和充电头都砍了 , 但价格同比上一代 , 还是会高点 。
更不用说 , 全系换装的 5G 芯片和 OLED 屏幕了!不过这次小狐最关注的 , 反而不是 12, 而是上面的 A14。 据说换装 5nm 工艺 , 性能提升 15% 的同时 , 功耗爆降 30% 左右 , 小狐还是很期待这颗芯片的表现的 。
而且小狐认为 , 现阶段性能过剩的说法其实对于 “ 5G时代 ” 来说 , 是错误的!毕竟拥有更强的性能平台去支持开发者 , 才能促使开发者在功能完善的同时 , 得以在更高的平台阶段去开发更便利更强大的功能应用 。
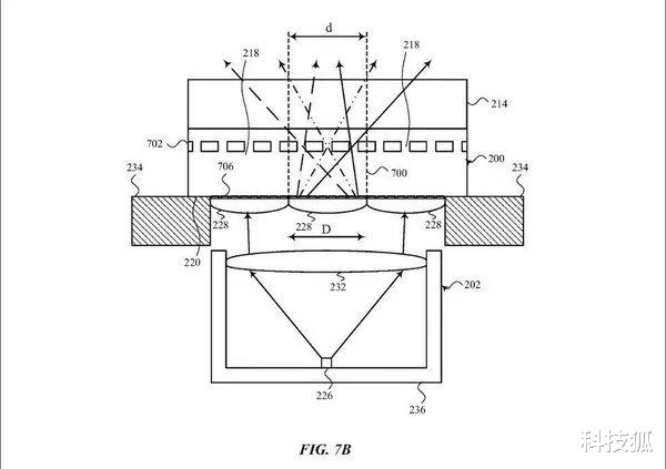
最后 , 据说 “ 屏幕指纹 ” 技术也有望在 2021 年在 iPhone 上搭载使用!与现阶段的屏幕指纹技术不同的是 , 苹果会加入捕捉 2D/3D 指纹图像的相关技术和光学指纹检测系统中的温度补偿算法 。
iPad
除了 iPhone 外 , 苹果还有一款产品 , 也将 “ 洗心革面 ” 的安排上!有消息指出 , 苹果将在明年推出搭载 “ 侧边指纹识别 ” 的低价 iPad。
推荐阅读
- 苹果|死磕到底?苹果CEO库克霸气回应:我们是不会做出任何让步
- 罗罗聊数码|苹果3万多款APP下架,iPhone生产线或遭转移,反击效果出现
- 最江阴|苹果动手了!
- 苹果|史上“最长寿”的苹果手机:上市3年半,居然有足足2亿用户!
- 苹果|强制下架!苹果新规正式实施,库克不得不接受现实
- 巨蟹龙年|pro款是销量之王,华为Mate40系列pro+是今年的颜值担当
- 极客时间线|Pro Max手机壳,时尚简约有品位,高颜值苹果11
- 大卫聊科技|“苹果税”涉嫌垄断?库克:谷歌、亚马逊都是这样收费!有问题?
- 科技壹零扒|清理力度创“史上之最”,苹果单日下架超2.6万款游戏App
- 蒂姆·库克|库克开始反击?被中国取消特殊待遇后,苹果计划将产线转移至印度
